
手機:13784219111
傳真:0310-6897000
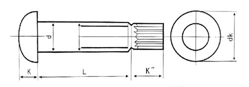
郵箱:1045172477@qq.com扭剪型螺栓
表面磷化,發黑,鍍鋅,熱鍍鋅,達克羅
GB/T3636
強度級別:10.9s
螺紋:6g
GB/T3632
強度級別:HRC35-45
GB/T3632
強度級別:10H
螺紋:6H
螺栓長度L=鏈接板厚度+L1
L1=螺母厚度+2×墊圈厚度+(2-3)倍螺距
掃描二維碼關注我們